EDI超純水系統為何需要清洗EDI?
文章出處:admin 人氣:發表時間:2020-04-10
在許多的超純水系統中,EDI超純水系統是功能性較強,費用也相對比較高的超純水系統,在這次疫情中許多的制藥企業采用的就是EDI超純水系統,電去離子要比一般的樹脂去除離子能力強而且也不會附帶對人體有影響的離子在水中,對人體比較好。

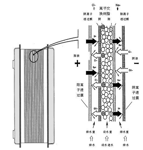
EDI超純水系統是將電滲析技術與離子交換技術有機地結合在一起的膜分離脫鹽技術,具有連續出水和不需要酸堿再生的優點,一般價格比樹脂的要高出很多,但是從長遠的角度看,EDI費用要比樹脂費用少很多,因此許多的于電子、電力、光伏、醫藥、化工等行業都會選擇EDI超純水系統作為核心凈水系統。
在EDI超純水系統中,由于各個部位的水箱并非是全密封模式,所以很大程度的有細菌、真菌等物質進入水中,而在EDI連續運行的時間中,這些物質會不斷的累積在EDI表面,加重EDI處理能力和速率,導致產水速度變慢,加大產水成本,導致EDI 濃水通道和極水通道出現結垢,所以EDI超純水系統需要每隔一段時間進行設備清理才能保證其作用。
此文關鍵詞:EDI超純水系統為何需要清洗EDI?
同類文章排行
- 實驗室超純水機ro和up分別
- 超純水中有多少溶解氧?
- 實驗室用水問題解答
- 實驗室超純水機出水有氣
- 余氯含量對超純水機耗材
- 實驗室純水機產出RO水呈酸
- 超純水機水質達到18.2ΩM
- RO純水與EDI超純水可以相互
- 國產專用實驗室超純水機
- 實驗室超純水儀的工作原
